完善主体资料,免费赠送VIP会员!
* 主体类型
* 企业名称
* 信用代码
* 所在行业
* 企业规模
* 所在职位
* 姓名
* 所在行业
* 学历
* 工作性质
请先选择行业
您还可以选择以下福利:
行业福利,领完即止!

下载app免费领取会员

NULL

ad.jpg

Revit技巧 | Revit轴线怎么画?如何用Revit绘制简单的轴线?

发布于:2024-10-19 09:40:01
首页/技术分享/Revit
收藏
1045

BIM中文网

更多

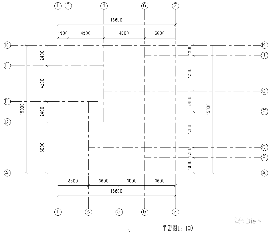
下图是轴线的绘制最终效果,那么如何用Revit来制作这么一个简单的轴线呢?

图片

 新建项目

绘制轴线,首先新建项目建筑样板


图片

轴线快捷键

绘制轴线的快捷键需要牢记,因为经常使用GR

图片

编辑轴线类型

当你画好第一条轴线,需要对轴线类型属性进行调节,一般设置如图所示。

图片

图片

复制快捷键

Revit常用快捷键之一——复制快捷键

CO,后面的轴线绘制就是机械化操作了

图片

裁剪修补线

通过最后美化,裁剪轴线段最后得出一个漂亮的轴线图,记得加上图标平面1:100

图片

本文版权归腿腿教学网及原创作者所有,未经授权,谢绝转载。

未标题-1.jpg

上一篇:Revit技巧 | Revit是参数化建模软件吗?Revit能用做什么?

下一篇:Revit技巧 | 如何用Revit画陶立克柱子?Revit陶立克柱画法讲解

60acb4e0ef112.png