快速登录
BIM发展
BIM讨论与交流
BIM 其他设计软件
建筑工程资格考试
学历提升
办公软件
CAD绘制引线标注的弧形方法
本文概述:在CAD中绘制引线标注的过程中,弧形方法是一种能够有效提升设计图纸美观性和可读性的技术。通过掌握这种技术,可以保证标注信息的清晰呈现,并且提升整体设计的专业水平。在CAD软件中进行设计时,标注是一个重要环节,它不仅提供了详细的信息,还可以提高设计图纸的可读性。引线标注指的是从一个点开始,通
优化提案:多线段编辑命令:CAD中的PEDIT命令
本文将详细说明CAD中的多线段编辑命令,即PEDIT命令,并探讨其在优化设计工作流程中的重要性。PEDIT(Polyline Edit)是CAD软件中用于编辑多线段对象的强大工具,能够有效提升设计准确性和效率。在计算机辅助设计(CAD)环境中,多线段是一种常用的图形对象,它由一系列连接的直线段或弧段
提升CAD创建带属性块的方法
本文概述:计算机辅助设计(CAD)在工程和建筑设计中广泛应用,创建带属性块是提高设计效率、增强图纸信息表达的重要方法。本文将详细探讨如何优化这一过程,并介绍一些关键技巧。在使用CAD软件进行设计时,创建带属性的块是一个有效的方法,可以让设计师快速将常用的符号或组件插入到图纸中。这不仅节省了时间,还能
CAD边界命令的使用方法详解
本文概述:本说明将详细介绍CAD边界命令的使用方法,包括如何创建、修改和管理边界,以帮助用户更好地掌握此功能。在计算机辅助设计(Computer-Aided Design, 简称CAD)软件中,边界命令是一个高度实用的工具,它主要用于定义绘图区域的边框。边界不仅可以帮助我们准确地限定工作区域,还可以
CAD中的符号输入技巧
本文概述:在计算机辅助设计(CAD)软件中,熟练掌握符号输入技巧可以显著提高工作效率和设计质量。通过对符号输入方法的了解和运用,用户能够快速插入各种设计符号以及进行精准调整,从而优化设计流程。现代工程设计离不开CAD软件,而符号在CAD中的应用十分广泛。符号不仅能够提供直观的视觉表示,还能传递特定的
CAD标注显示精度的调整方法是什么?
在计算机辅助设计(CAD)中,标注的精度对于工程图纸的准确性至关重要。随着设计要求的不断提高,如何调整CAD标注显示精度成为使用者关注的重要问题。本文将详细介绍CAD标注显示精度的调整方法,以帮助用户提高图纸的精确性和可读性。在**CAD系统**中,标注通常包括尺寸标注、文字标注以及引线标注等。这些
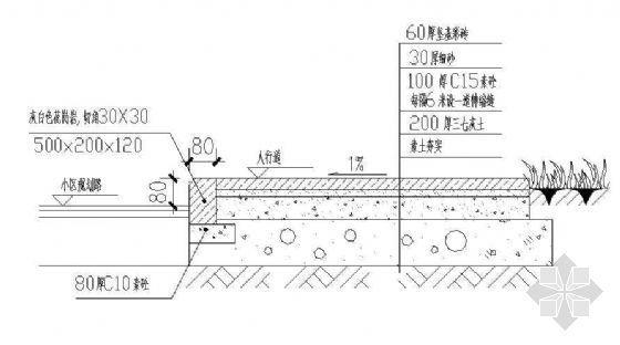
提升CAD绘制人行道的技巧
本文旨在帮助读者掌握如何通过有效的技巧和方法来提升使用CAD绘制人行道的能力。这些技巧不仅能够提高你的工作效率,还能确保绘制成果的质量与细节,适用于各种规模和复杂程度的人行道设计项目。为了在CAD中成功地绘制**人行道**,首先要理解基础的几何结构。人行道通常由直线、曲线以及不同形状的铺装材料组成。
CAD自动捕捉标记无法显示的解决方法
在使用CAD软件时,自动捕捉标记的显示问题是一个常见困扰用户的问题。解决这一问题对于许多专业人士来说至关重要,因为它直接影响到图纸绘制的精准度和工作效率。本文将为您详细解析各种导致CAD自动捕捉标记无法显示的原因,并提供一系列有效的解决方法,以确保您的设计工作能够顺利进行。首先,我们需要了解为何CA
如何在CAD中修剪图案填充
本文概述:在CAD中的图案填充是指在封闭区域中应用特定的图形或纹理以增强设计的表现力。然而,有时候需要修剪这些图案填充,以符合设计要求或者优化视觉效果。本文将深入探讨如何在CAD中高效地修剪图案填充,为您的项目增添灵活性和专业度。在**CAD软件**中,图案填充是一种常用技术,它允许用户将预定义的*
如何在CAD中打开和调整夹点?
本文将详细介绍在CAD软件中打开和调整夹点的步骤与技巧。对于许多使用CAD进行设计和绘图的专业人士来说,熟练掌握这一功能不仅能够提高工作效率,还能提升设计的精确度。通过对夹点的操作,我们可以轻松地对图形进行修改、移动和调整,这对于各种复杂设计任务的完成是至关重要的。在CAD软件中,**夹点**(Gr
推荐文章
最新更新
声明:本站所涉及的课程仅供学习使用,任何用户不得以翻录、翻拍、截屏等方式对课程进行任何形式的保存、传播、买卖或任何其他商业活动。否则版权方有权追究侵权方的法律责任。